[단독 취재 / 최초 보도] 20년 간 그림자 속에 존재했던 인물… ‘L 개발자’ 드디어 입을 열다

[단독 취재 / 최초 보도] 20년 간 그림자 속에 존재했던 인물… ‘L 개발자’ 드디어 입을 열다

– 1999년 국가기관 사건의 중심에 있었던 미확인 기술자, 비트코인 기원과 연결된 기록을 세계 최초 공개

[강남 소비자저널=김은정 대표기자]

 

1999년 국가정보원의 기술유출 수사에서 사건의 ‘핵심 인물’로 지목되며 갑작스럽게 사라졌던 인물, 언론과 기술계에서 “L 개발자”로만 알려져 온 이가 20여 년간 봉인해 온 연구 기록과 개발 문서를 처음으로 공개했다.

그는 지난 20년 동안 특정 동료들에게만 존재가 확인되는 비공개 기술자 네트워크의 중심 인물로 살아왔고, 사건 이후 비영리에 치중해 중소, 소상공인과 소비자 상생을 위해 노력해 온 인물로 전해졌다.

이번 발표는 그가 스스로 온전한 개발자로서의 존재로 세상 앞에 모습을 드러낸 역사적 첫 순간이다.

 

 

■ “1999년, 이미 블록체인의 시대를 예견한 자가 있었다”

L 개발자는 공개된 자료에서 1999년에 설계했던 구조를 “셀 기반 디지털 검증 시스템”이라 칭했다.

이 구조는 ▲탈중앙 인증 ▲트러스트리스 구조 ▲가치 전송 체계 ▲해시 기반 검증 로직 등 현대 블록체인 구조와 닮아 있으며, 2000년 12월 15일 실제 특허(특허 출원 번호_102000007**** / 특허 공개 번호_102002004**** (2002.06.21))로 출원되었다.

기술계 일부에서는 “비트코인의 철학과 초기 메커니즘이 특정 부분에서 놀라운 유사성을 보인다”며 그의 존재를 “사라진 0번 개발자(Developer Zero)’””라고 부르기도 한다.

그는 “그 당시 저는 ‘스스로 작동하는 신뢰 시스템’을 만들고 있었습니다. 그게 지금 보면 블록체인의 시초와 맞닿아 있었던 셈입니다.”고 회상했다.

 

 

■ 국정원 조사실, 서울지검 외시과로 끌려간 날, 모든 것이 봉인됐다

L 개발자가 사라진 이유는 정권 교체 직후의 혼란 속에서 터진 국정원과 대형 언론사가 연합한 기획적 공안 사건이었다.

체포 하루 전, 그는 당시 글로벌 세계적 컨설팅사 아더앤더슨 한국 대표와 150억 원 규모의 기술 투자 계약을 논의 중이었다.

다음 날 그는 아무 예고 없이 국가정보원 요원들의 내사와 서울지검 외사과에 의해 긴급 체포됐다.

“그 순간부터 저의 목소리는 사라졌습니다. 사건의 모든 서사는 언론이 대신 말했고, 저는 더 이상 존재하지 않는 개발자가 됐습니다.”

이후 20년 동안 그는 기술계에서 실명을 밝히지 않고 연구를 계속해 왔다.

사람들은 그를 단순한 기술자가 아니라, “사라진 알고리즘의 마지막 목격자”로 불러왔다.

 

■ “더 이상 숨길 이유가 없다”… L 개발자의 귀환

그는 침묵을 깨야 한다고 판단한 이유에 대해 다음과 같이 밝혔다.

“기술은 묻힐 수 있어도, 원리는 묻히지 않습니다. 이제야 진실이 돌아올 수 있는 자리가 마련됐습니다.”

그의 전자책《THE FIRST CHAIN》(가제)에는 비트코인 백서와 자신의 구조를 비교 분석한 문서가 포함돼 있으며, 이 내용은 비트코인의 기원 논쟁에서 강력한 ‘Missing Link(잃어버린 연결점)’가 될 가능성이 크다.

 

■ 영화·OTT 프로젝트에서 L 개발자는 ‘실제 인물 기반의 캐릭터’로 등장

“이제부터가 이야기의 시작”

현재 프로젝트는 영화, 글로벌 OTT 시리즈, 다큐멘터리 형식으로 동시 개발되고 있다.

영화 제작사는 L 개발자를 “존재는 실제지만 모든 것이 베일에 싸인 상징적 인물”로 설정해 극적 스릴러와 실화 기반 드라마의 중심에 둘 계획이다.

또, 다큐멘터리 방식을 떠나 논픽션 요소를 극대화할 예정이라고 밝혔다.

 

■ L 개발자의 메시지

“저는 그저 기록을 남기려 합니다. 진실의 일부는 사라졌지만, 일부는 아직 살아 있습니다.

그 동안 가족들에게 조차 침묵해 온 현실이지만 이제부터 남겨진 조각들을 하나씩 꺼내 놓겠습니다.”

 

■ 향후 계획

– ISBN 전자책 정식 출간

– 서책 출간(세계 최초 시도 보상형 오프라인 서적 / 출판사 : ESM 시스템즈)

– 영화 제작 및 국제 공동제작 공식 발표

– 추가 시리즈 구성안 및 캐릭터 아트 공개

– 공개 아카이브 구축 및 추가 기록 해제

– R 프로젝트 체인 (2000년 당시 특허 스록된 기술) 시장 상황에 따라 추후 공개

– 블록체인의 과거 공개를 시작으로 현재, 미래를 언급하는 시리즈 확장 예정.

 

■ 언론 문의(Contact)

ESM 시스템즈 PR팀(비공개 기술 아카이브)

이메일: webmaster@moimland.com

전화: 02-1688-9759

 

▲사진=Thr First Chain 포스터 ⓒ강남 소비자저널

▲사진=Thr First Chain 형상 이미지 ⓒ강남 소비자저널
▲사진=Thr First Chain 형상 이미지 ⓒ강남 소비자저널 ※

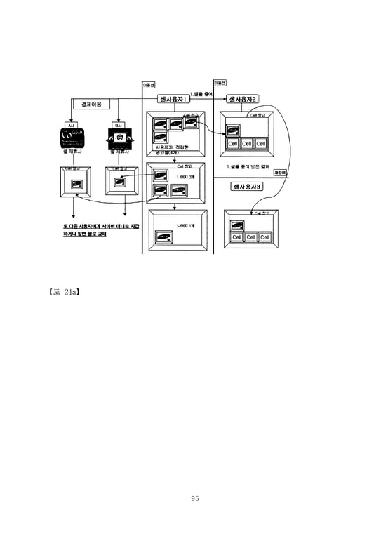
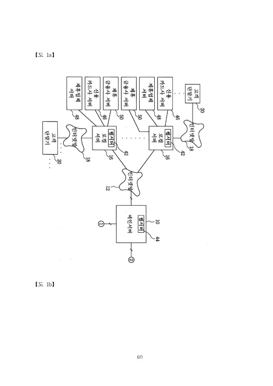
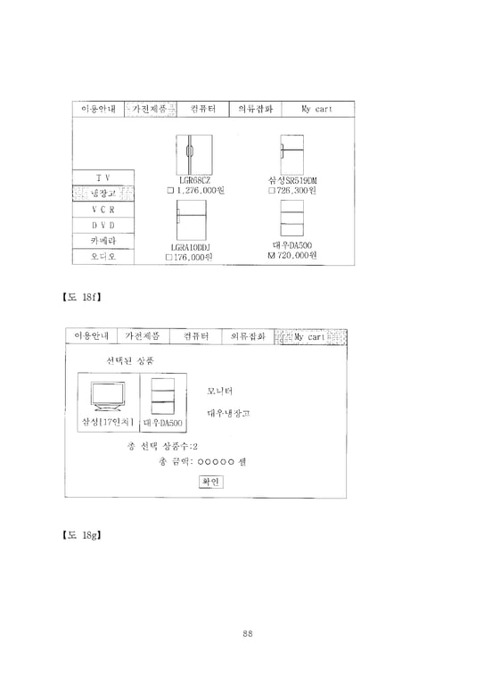
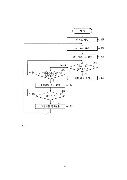
[▼사진=97쪽에 달하는 특허 전문/세계 최초 공개]

※자료제공 : 전설적 L 개발자

 

 

🌐 ESM Web3 Evaluation

ESM소비자평가단 WEB3 평가 참여

점수를 선택한 뒤 평가 제출하기 버튼을 눌러주세요. 평가는 리워드·랭킹·ESM소비자평가단(DAO) 참여 데이터로 활용됩니다.

현재 평균평가 전
참여 수0명
리워드평가+지갑
① 점수 선택 → ② 그래프 확인 → ③ 평가 제출하기
선택 점수: 0점 / 10점
연결 지갑: 0x2ce511...c83fd9 · 리워드 적용 대상 지갑 연결하기
비회원도 평가는 가능합니다. 단, 회원가입/로그인 시 포인트 누적, NFT 인증, DAO 참여 혜택이 연결됩니다.

전체 후기 TOP5

아직 등록된 후기 평가가 없습니다. 첫 번째 후기를 남겨주세요.

🔥 실시간 Web3 평가 랭킹 TOP3

🔥 실시간 Web3 평가 랭킹 TOP3

ESM소비자평가단 참여 평가 기준 기사별 평균 점수와 참여 수를 집계합니다.

  1. ‘나누GO, 즐기JOB’ 강남구, 여성 위한 바자회0점0명
  2. 강남구, 비닐하우스 등 국공유지 무단점용 정비0점0명
  3. 엑스포3004 대표이정희외 단원들이 군위문공연단 전우와함께에 50만원 후원0점0명
DAO Vote

ESM소비자평가단(DAO) 참여

이 콘텐츠에 대한 의견을 남기고 ESM소비자평가단(DAO) 활동에 참여하세요.

이 기사/제품/서비스에 대해 긍정적으로 평가하십니까?
찬성 0 · 반대 0 · 보류 0
내 활동 보기
NFT Certification

ESM NFT 인증 발급

지갑 연결 후 평가 참여 기록을 ESM 인증 NFT로 남길 수 있습니다.

평가 참여 → 지갑 확인 → NFT 인증 발급 → 마이페이지에서 보유 내역 확인
내 NFT 보기

답글 남기기

이메일 주소는 공개되지 않습니다. 필수 필드는 *로 표시됩니다