[단독 취재 / 최초 보도] ①  _20년 간 사라졌던 개발자 ‘L’, 침묵을 깨다…

[단독 취재 / 최초 보도] ① _20년 간 사라졌던 개발자 ‘L’, 침묵을 깨다…

– 국정원 사건부터 비트코인 기원 논쟁까지 처음으로 말하다

[강남 소비자저널=김은정 대표기자]

1999년 국가정보원의 긴급수사로 사회적 화제가 되었던 IMT-2000 기술유출 사건의 중심 인물, 기술계에서는 오랜 기간 “L 개발자”라는 이름으로만 전해졌던 그가 마침내 20년간의 침묵을 깨고 공식적으로 입을 열었다.

그는 최근 자신의 연구 기록과 특허 자료를 기반으로 한 전자책 《THE FIRST CHAIN》 출간을 신청하며 당시 사건과 그 뒤에 숨겨진 기술적 배경을 세상에 공개하기 시작했다.

 

■ “1999년, 이미 블록체인의 시대를 보고 있었다”

“L 개발자”는 인터뷰에서 1999년 자신이 설계한 기술을 ‘골드셀 기반 디지털 검증 시스템(Gold Cell-based Digital Verification System)’이라 소개했다.

이는 ▲탈중앙 인증 ▲위변조 방지 구조 ▲해시 기반 검증로직 ▲신뢰 없는 신뢰(Trustless) 체계 등 현대 블록체인의 핵심 원리를 이미 포함하고 있었다.

“그때 저는 다만 ‘스스로 작동하는 신뢰 시스템’을 만들려 했을 뿐입니다. 그게 지금 블록체인의 시초와 닮아 있다는 사실은
몇 년이 지나고야 알게 되었습니다.”

 

■ 국정원, 서울지검 조사실로 사라진 날, 기술도 봉인됐다

체포 하루 전, 그는 글로벌 컨설팅사 아더앤더슨 한국 대표와 150억 원 규모의 투자 계약을 논의하던 중이었다.

그러나 다음 날, 사전 예고 없이 국정원과 서울지검 외사과 요원들에 의해 그의 연구와 일상은 갑작스럽게 중단되었다.

“그 이후로는 제가 제 이야기를 할 기회가 없었습니다. 언론이 만든 프레임만 남았고, 저는 기록 속에서 사라진 개발자가 됐습니다.”

 

■ “더 이상 숨길 이유가 없다”

그가 지금에야 침묵을 깨는 이유는 단순하다.

“20년 동안 가족에게조차 말하지 못했습니다. 하지만 기술의 원리는 사라지지 않습니다. 이제는 남아 있는 조각들을 세상에 꺼내야 할 때라고 느꼈습니다.”

그의 전자책에는 비트코인 백서와 자신의 기술을 비교 분석한 내용까지 포함되어 있어 “비트코인의 기원 논쟁”에 새로운 관점을 제공할 것으로 보인다.

 

■ 영화·OTT 프로젝트의 첫걸음

현재 장편영화, 글로벌 OTT 시리즈, 다큐멘터리가 동시에 개발되고 있으며, “L 개발자”라는 실존 기반 인물은 극 중에서 ‘사라진 알고리즘의 마지막 목격자’, 그리고 ‘0번 개발자(Developer Zero)’라는 상징적 캐릭터로 재창조될 예정이다.

그는 인터뷰 말미에 이렇게 말했다.

“저는 그저 진실을 남기려 합니다. 숨겨진 역사는 언젠가 돌아옵니다.”

 

▲사진=l 개발자 이미지 ⓒ강남 소비자저널


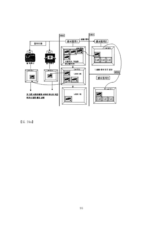
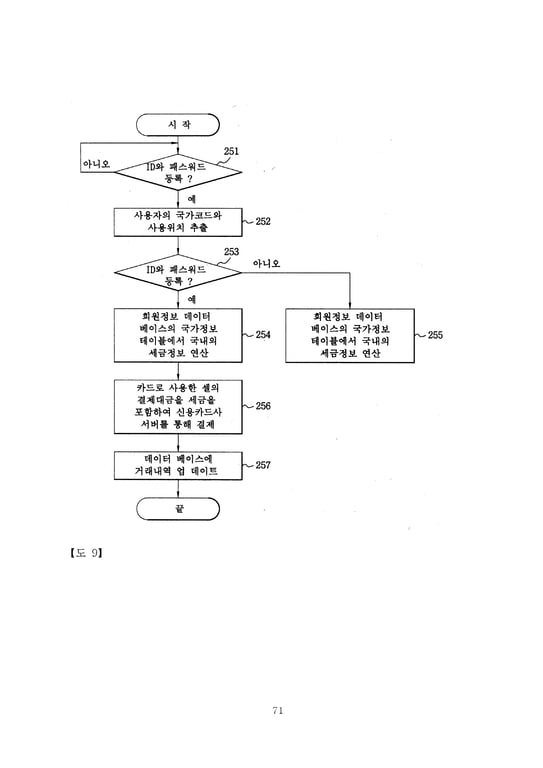
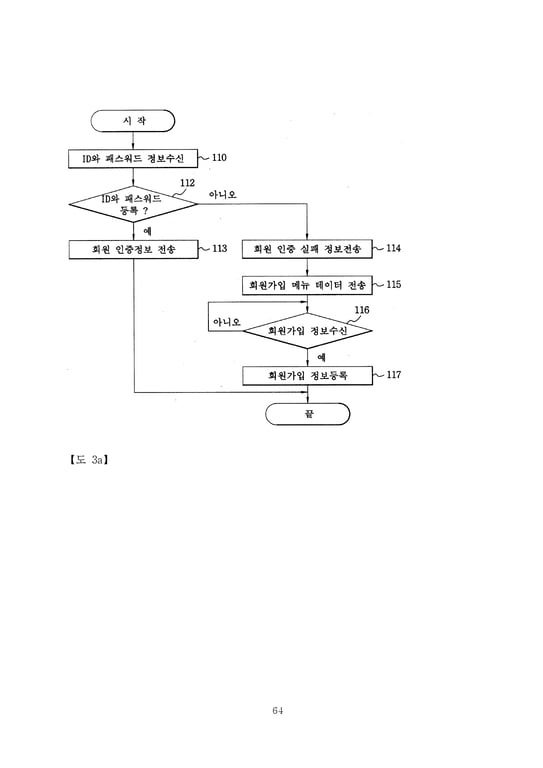
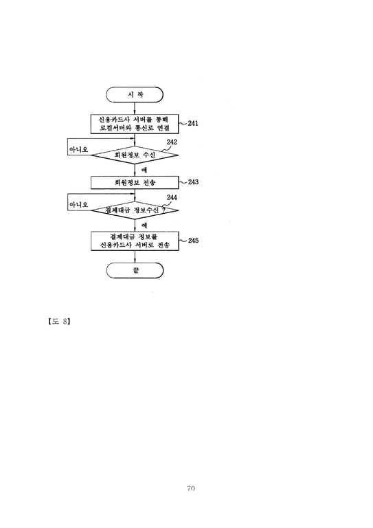
[▼사진=97쪽에 달하는 특허 전문/세계 최초 공개]

※자료제공 : 전설적 L 개발자

답글 남기기

이메일 주소는 공개되지 않습니다. 필수 필드는 *로 표시됩니다