[강남 소비자저널=김은정 대표기자]
[L 개발자 오프닝 발언]
여러분, 바쁘신 와중에도 참석해 주셔서 감사합니다.
오늘 저는 20년 넘게 말하지 못했던 이야기의 첫 페이지를 열기 위해 이 자리에 섰습니다.
1999년, 저는 새로운 디지털 신뢰 시스템을 개발하고 있었고
그 기술은 2000년에 특허로 출원되었습니다.
당시에는 ‘셀 기반 검증 시스템’이라 불렀지만,
지금 보면 블록체인의 근본 원리와 놀라운 부분이 겹칩니다.
하지만 체포 하루 전, 저는 글로벌 컨설팅사와
150억 원 규모의 투자를 논의하고 있었습니다.
다음 날 국정원 조사실에서 제 기술은 봉인되었고
저는 세상에서 사라진 개발자가 되었습니다.
오늘 이 자리에서 저는
그동안 숨겨져 있었던 기록들을 조금씩 공개하기 시작합니다.
기술은 숨겨질 수 있어도, 진실은 언젠가 돌아옵니다.
앞으로 이 이야기는
책, 영화, 시리즈, 그리고 아카이브를 통해
모두에게 투명하게 공개될 것입니다.
감사합니다.
▲사진=L개발자 기자회견 이미지 ⓒ강남 소비자저널
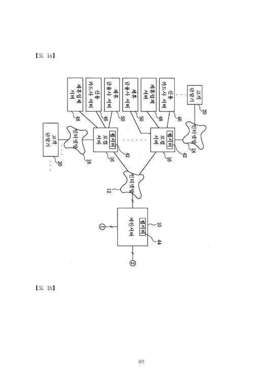
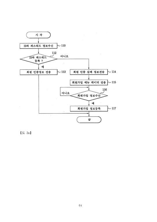
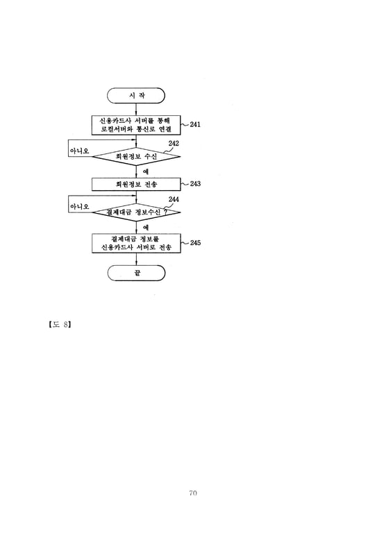
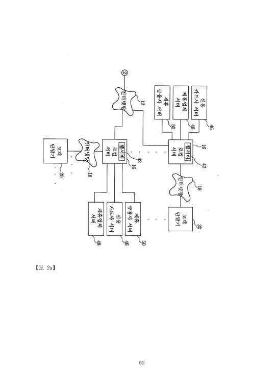
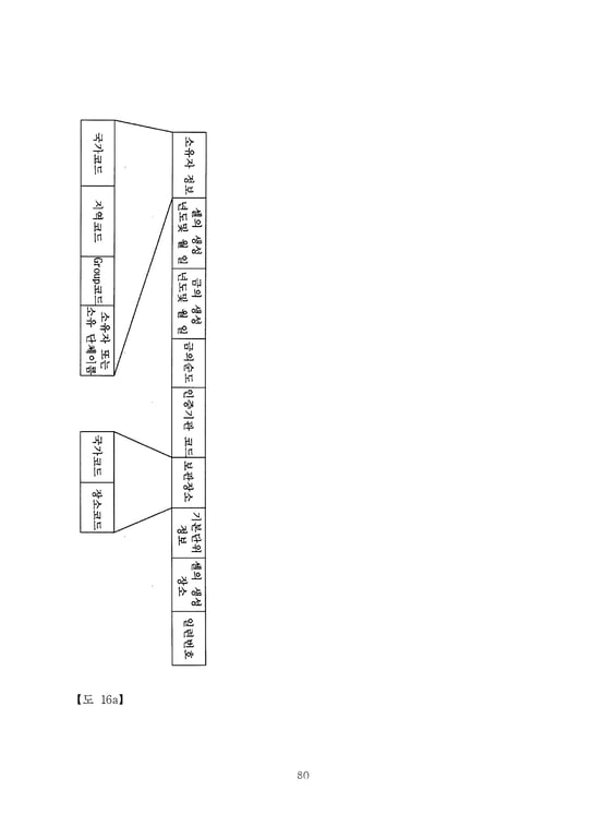
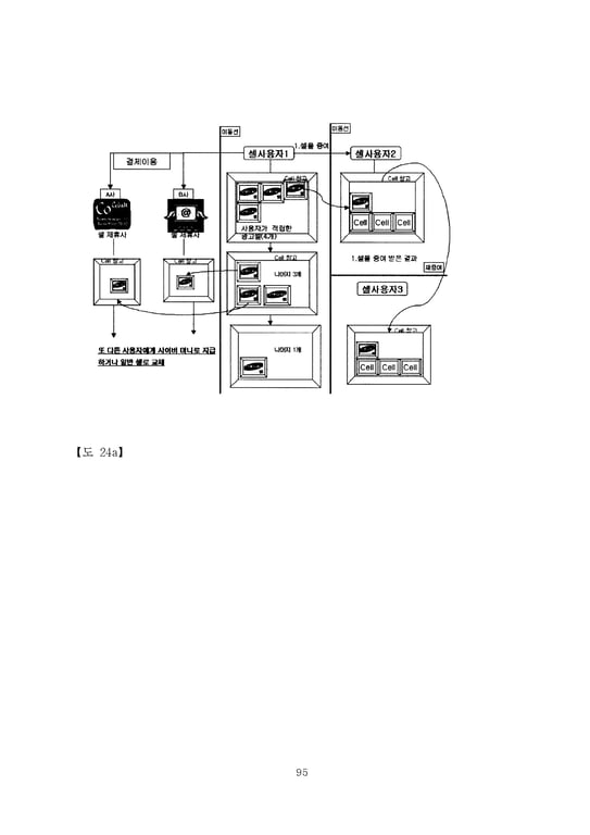
[▼사진=97쪽에 달하는 특허 전문/세계 최초 공개]
※자료제공 : 전설적 L 개발자
ESM소비자평가단 WEB3 평가 참여
점수를 선택한 뒤 평가 제출하기 버튼을 눌러주세요. 평가는 리워드·랭킹·ESM소비자평가단(DAO) 참여 데이터로 활용됩니다.
전체 후기 TOP5
아직 등록된 후기 평가가 없습니다. 첫 번째 후기를 남겨주세요.
🔥 실시간 Web3 평가 랭킹 TOP3
🔥 실시간 Web3 평가 랭킹 TOP3
ESM소비자평가단 참여 평가 기준 기사별 평균 점수와 참여 수를 집계합니다.
ESM소비자평가단(DAO) 참여
이 콘텐츠에 대한 의견을 남기고 ESM소비자평가단(DAO) 활동에 참여하세요.
ESM NFT 인증 발급
지갑 연결 후 평가 참여 기록을 ESM 인증 NFT로 남길 수 있습니다.